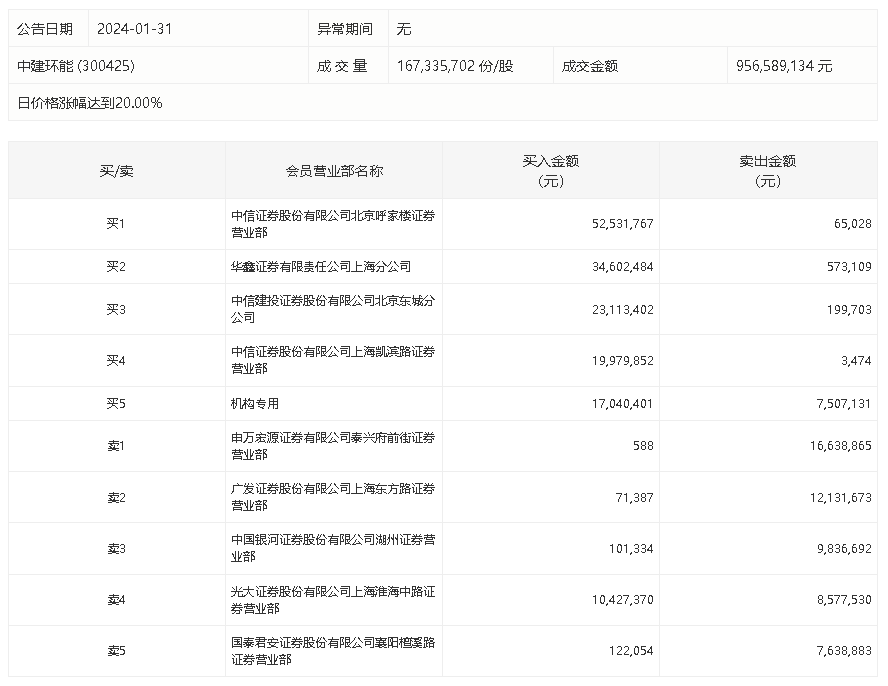
1月31日,中建环能今日涨停,全天换手率达24.89%,振幅达22.04%。龙虎榜数据显示,营业部席位合计净买入9481.85万元。其中,机构买入1704.04万元,卖出750.71万元,合计净买入953.33万元。此外,中信证券北京呼家楼证券营业部、华鑫证券上海分公司分别买入5253.18万元、3460.25万元;申万宏源证券有限公司泰兴府前街证券营业部、广发证券上海东方路证券营业部分别卖出1663.89万元、1213.17万元。
来源:界面新闻
1月31日,中建环能今日涨停,全天换手率达24.89%,振幅达22.04%。龙虎榜数据显示,营业部席位合计净买入9481.85万元。其中,机构买入1704.04万元,卖出750.71万元,合计净买入953.33万元。此外,中信证券北京呼家楼证券营业部、华鑫证券上海分公司分别买入5253.18万元、3460.25万元;申万宏源证券有限公司泰兴府前街证券营业部、广发证券上海东方路证券营业部分别卖出1663.89万元、1213.17万元。
评论