正在阅读:

吸金超百亿后,这个赛道还有30倍增长空间

扫一扫下载界面新闻APP

吸金超百亿后,这个赛道还有30倍增长空间

心血管器械仍在坚持创新,市场担心商业化。

图片来源:Unsplash-FlyD

文|动脉网

据蛋壳研究院不完全统计,在融资高峰期的2021年至2022年5月,心血管行业共发生38起融资,总融资额高达百亿元。

期间,二尖瓣、三尖瓣、电生理、人工心脏、血管介入手术机器人等细分赛道轮番登场,争当最火爆的赛道。

两年过去,心血管器械赛道发展的怎么样了?各细分市场有什么样的变化?市场上又出现了哪些创新医疗器械?相关企业又有何进展?

站在创新最前沿,商业化却折戟?

作为曾经的“当红炸子鸡”,瓣膜介入市场吸引了大量资金后,国内相关企业加码布局了主动脉、肺动脉、二尖瓣、三尖瓣等几乎所有瓣膜器械品类,并从模仿走向了原始创新。

在心脏瓣膜市场,许多企业从材料方面寻找创新突破点。例如,以心医疗自主研发出了全球首个聚合物瓣膜Polymer TAVR,且该产品已在上海复旦大学附属中山医院完成全球首例临床植入。

相较于以热解碳为材料制作的机械瓣膜和以生物组织为材料制作的生物瓣膜,聚合物瓣膜基于材料学的突破,融合机械瓣及生物瓣的双重优势,不仅使用寿命长,还具有极好的血液相容性,使患者无需长期服用抗凝药。据悉,心岭迈德、心锐医疗等创新企业也在布局研发高分子瓣膜。

除了材料上的突破,国内企业也在结构方面进行心脏瓣膜的创新。例如,近期获得FDA突破性设备认定的经导管二尖瓣置换术设备AltaValve,就是结构创新的代表。该产品由心通医疗的联营公司4C Medical研发,适用于治疗二尖瓣反流。

据悉,AltaValve采用环上瓣装置和心房固定设计,用于规避临床面临的锚定困难问题。同时,该设备通过创新的回收系统可在完全释放后实现回收功能,使术者在术中实现更精准的定位及释放。此外,AltaValve设计了三种不同瓣膜尺寸,满足不同瓣环直径的患者使用。

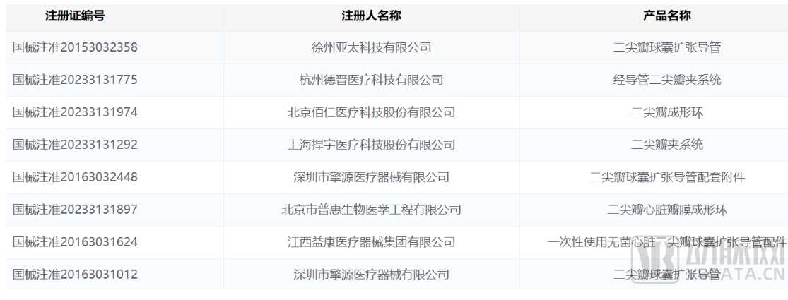
捍宇医疗、德晋医疗也在二尖瓣市场分别推出经导管二尖瓣夹系统,且两者的产品均于2023年以创新医疗器械身份获批上市。其中,捍宇医疗的二尖瓣夹系统采用了闭合环设计,夹臂之间不易分开,保证夹合稳固;其二尖瓣夹捕获范围较大,利于操作;经心尖手术方式,手术入路短,定位直接。

德晋医疗的经导管二尖瓣夹系统则设计了可延展中央封堵网搭配钳臂无级自锁,机械夹合,保证稳定的瓣叶捕获,降低瓣叶张力,减少对瓣叶的损伤,降低中心残余反流,减少术后跨瓣压差。

产品创新之外,国内瓣膜企业也在加速瓣膜产品的商业化。截至目前,国内已有多款介入瓣膜产品获批,其中二尖瓣介入产品已有2款上市。同时,相关企业已启动获批产品的商业化,且启明医疗、心通医疗、健世科技、杰成医疗等企业均已加速瓣膜产品在海外市场的应用。

例如,今年以来,启明医疗的经导管人工肺动脉瓣膜置换系统VenusP-Valve已在加拿大、澳大利亚、以色列、新加坡等国家相继获批上市,加速其全球化战略。截止目前,该产品的全球销售量总计超1000例,覆盖百余家海外中心。不止是肺动脉瓣膜,启明医疗的其他瓣膜产品也在全球市场销售应用,抢占传统海外巨头的市场。

再如,心通医疗自主研发的第二代TAVR产品VitaFlow Liberty已进入阿根廷、哥伦比亚、巴西、泰国、俄罗斯、印度尼西亚和沙特阿拉伯的近100家核心医院,且其VitaFlow系列产品已在全球范围内累计完成超1万例临床应用。

可惜的是,国内瓣膜企业的商业化成果却不尽如人意。根据各上市企业的2023年财报,启明医疗2023年营收4.91亿元,同比增长21%,税前亏损7.35亿元;心通医疗2023年营收3.36亿元,同比增长33.9%,税前亏损为4.64亿元;沛嘉医疗2023年营收4.41亿元,同比增长75.9%,税前亏损3.91亿元;健世科技2023年归母净亏损3.72亿元……仅计算上市企业,瓣膜领域企业在2023年亏损就达到19.62亿元,接近20亿。

一年亏损近20亿,瓣膜企业缺的不只是时间

产品陆续获批、加码商业化的瓣膜企业,为何还在亏损?一方面,瓣膜企业仍在斥巨资投入研发。如2023年,启明医疗的研发成本为5.24亿元,心通医疗的研发成本为2.37亿元,健世科技的研发开支为2.88亿元,沛嘉医疗瓣膜业务板块的研发开支为2.4亿元。

另一方面,瓣膜介入的渗透率还处于较低水平,需等待时间发酵。在近期举办的2024第八届VBEF未来医疗生态展会·心血管创新论坛上,以心医疗首席科学家钟伟提到:“2023年我国主动脉瓣介入置换手术数量大约为13000例-15000例左右,今后仍然会快速发展,预计2030年可能达到10万例,甚至更高。”

事实上,产业发展不是玩游戏,不能点点鼠标就实现快速应用,投资界、市场需要给瓣膜企业更多的时间。以美国为例,2002年,全球首例TAVR成功实施,但直到2019年,美国TAVR手术量才终于超过外科主动脉瓣置换手术(SAVR)。这一历程用了17年。

在中国,相信TAVR手术量超越SAVR用不了17年。2010年,国内首例TAVR手术成功实施。此后,瓣膜介入手术经过几年的医生培训、学术推广,在2018年实现开展1300例TAVR手术,并在2021年成功开展7319例。根据复旦大学附属中山医院潘文志教授公布的《2023年中国心脏瓣膜病介入治疗数据》,2023年前十个月,TAVR手术量已开展1.16万例。

手术量持续大增的背后,是瓣膜中心的快速建设与大量国产创新瓣膜器械的支持。2019年,心脏瓣膜病介入中心(简称“瓣膜中心”)在国家放射与治疗临床医学研究中心指导下发起建设。瓣膜中心致力于推动心脏瓣膜病介入治疗的体系化和规范化发展。截至目前,全国已有309 家注册单位,覆盖26 个省份。

另外,潘文志教授认为:“TAVR器械的迭代也促进了国内TAVR手术量的增长。”从机械瓣到生物瓣,再到高分子瓣膜,从传统瓣膜到可回收瓣膜,瓣膜器械一直在更新迭代。同时,现阶段,主动脉瓣、二尖瓣、三尖瓣及肺动脉瓣等疾病领域,均有具备独特临床优势的国产自研瓣膜器械问世,为临床诊疗的发展提供坚实的技术支撑。业内企业的推广、适应症人群的拓展,均对瓣膜介入渗透率的增长做出了重要贡献。

虽然有的瓣膜企业在持续亏损,但瓣膜市场的基本盘与基本逻辑仍是积极向好的。从渗透率上看,我国约有2500万例瓣膜性心脏病患者,其中150万为重度主动脉瓣狭窄患者。TAVR渗透率还有极大地提升空间。

在2024第八届VBEF未来医疗生态展会上,蛋壳研究院院长姜天骄表示:“希腊的人均GDP为2万美金,其每百万人TAVR植入量有50多例。目前,中国每百万人TAVR植入量仅有9例。中国到2035年要达到中等发达国家收入水平,即人均GDP达到2.3-2.5万美金。因此,中国TAVR若做到希腊当前的渗透率,就有5倍的成长空间;若做到日本当前的渗透率,则有10倍的增长;若达到美国当前的渗透率,则还有30倍的增长空间。”

基于这一基本逻辑,我们认为瓣膜介入市场未来可期,而站在创新最前沿的国产瓣膜企业们将在未来的全球瓣膜器械制造巨头中占有一席之地。

需要补充的是,双向奔赴,才有美好未来。投资者给予瓣膜企业资金支持及发展时间,但瓣膜企业也需要给予投资者信心。目前,瓣膜领域上市企业,启明医疗、沛嘉医疗先后公告停牌。启明医疗停牌的原因是内部管理问题,公司曾向两名高管提供巨额贷款且及时信披;沛嘉医疗停牌的原因是“公司正在与审计师讨论金融资产的估值,且仍待若干资料及支持文件”。

因此,瓣膜企业除了加强产品创新,也需注重企业管理。未来,随着市场渗透率的提升,国内瓣膜企业将迎来快速发展。但抓住机遇的,可能是上市企业,也可能是现阶段默默补齐短板的创新企业。

心血管器械仍在坚持创新,市场担心商业化

在融资高峰期,吸金的不止是瓣膜介入器械,还有其他细分领域。

例如,心脏电生理领域就凭借新兴的脉冲电场技术(PFA)吸引了一大批投资者,先后有十余家入局的企业完成融资。

PFA被认为是下一代消融技术。据悉,PFA具有组织选择性和非热效应,可在杀伤病变组织的同时确保不损伤周围正常组织。此外,PFA系统还具有消融效率高、操作简单、安全性高等优势。

如今,锦江电子、德诺电生理等创新企业的PFA系统已获批上市。其中,锦江电子的PFA系统LEAD-PFA于2024年5月在“中国医疗器械创新之路”高峰论坛上进行产品品鉴,并登上了比邻星创投发布的《中国医疗器械2024探星创新榜》。

值得一提的是,睿笛生物基于脉冲电场技术推出的陡脉冲消融系统(纳秒脉冲消融系统)于2024年2月获得美国FDA“突破性医疗器械”认定,成为国内首个获此认定的脉冲电场消融产品。

道禾长期投资合伙人周灏评价道:“锦江电子的LEAD-PFA作为第一个上市的国产PFA,产品和技术均具有竞争力。但是,其后续如何开展学术推广,如何做长时间的临床验证,同样十分重要。”

RDN也是市场关注的重磅细分赛道。2023年,美敦力历经23年辛苦,终于使其经皮去肾交感神经术(RDN)产品获得FDA批准。在大洋彼岸,魅丽纬叶推出的Netrod网篮状六电极RDN系统于2021年获得FDA授予的“突破性设备”认定。

据介绍,魅丽纬叶自主研发的Netrod网篮状六电极RDN系统采用了网篮状结构使导管顺应性更强、血管中贴壁性能更优异,并设计出360度螺旋排布的六电极使系统实现更高效的消融治疗。临床数据显示,该产品的达标率达60%,诊室血压下降率达25%,动态血压下降率达12%。

泰康资产董事总经理、战略股权投资部负责人徐军表示:“魅丽纬叶的技术确实很领先,在临床数据上也远远高于海外巨头。但是,其未来面临的问题也是一样:创新产品的商业化需要用数据来证明。同时,该产品的临床效果,也需要企业用长期、广泛的临床数据来证明。”

上海生物医药产业股权投资基金合伙人梁卫彬也表示:“魅丽纬叶的RDN系统作为创新疗法,在商业化方面存在挑战。不过,由于美敦力的RDN产品已在国内获批,相信魅丽纬叶将可与美敦力共同推动RDN的应用。”

若没有跨国巨头企业在前面蹚路,国内企业就需要作为主力推动创新产品和创新术式,这明显更具挑战性。

除了瓣膜介入、心脏电生理、RDN外,血管介入手术机器人、血管腔内影像、人工智能等赛道也充满了创新。例如,唯迈医疗立足介入机器人存在个体精度差异、手术效率等痛点,提出了以介入手术机器人为“手”、DSA为“眼”、AI决策平台为“脑”的“眼手脑”协同解决方案。

“计算医学的兴起,能够助力心血管医疗器械研发。如MathWorks与奥克兰大学合作,提供可通过数学模型仿真心脏跳动过程中,完整电生理模型,从而可帮助心血管企业,实现医疗器械的早期设计验证和评估。而不必等到动物实验和临床试验,才能进行代价高昂、耗时费力的验证与迭代优化。“

虽然行业创新一直在持续,但市场与投资人们基于当前的市场环境,开始更关注企业的商业化问题。

有投资人表示,有些创新医疗器械在学术推广时评价出色,临床效果也极为优异,但在临床上却难以推广普及。这是因为产品获批之后,还有物价、挂网、集采、医保等难关,且关关难过。

以物价为例,国科恒泰战略合作与投资部负责人王泽玮表示:“创新器械的商业化,大概要花10年才能把全国每个省的物价都做下来。此前,一位研发出国际首创产品的创始人,用了10年才做了5个省的物价。”

不止是创新企业,跨国器械巨头也会遇到商业化难题。例如,雅培、波科花了十几年时间和数亿元美金推广可降解支架,但其产品仍然是黯然离场。

君联资本董事总经理周瑔提醒创业者:“希望所有医疗器械企业在创新的过程中提前关注国内商业化的体系和它的边界条件,因为这会非常大地影响创新项目的投入产出比和转化周期。”

时移世易,因地制宜。现阶段,没有更多资金涌入市场后,心血管创新器械企业需调整发展战略,以商业化为重中之重,通过健康的现金流确保企业稳步发展。

本文为转载内容,授权事宜请联系原著作权人。

评论

暂无评论哦,快来评价一下吧!

下载界面新闻

微信公众号

微博

吸金超百亿后,这个赛道还有30倍增长空间

心血管器械仍在坚持创新,市场担心商业化。

图片来源:Unsplash-FlyD

文|动脉网

据蛋壳研究院不完全统计,在融资高峰期的2021年至2022年5月,心血管行业共发生38起融资,总融资额高达百亿元。

期间,二尖瓣、三尖瓣、电生理、人工心脏、血管介入手术机器人等细分赛道轮番登场,争当最火爆的赛道。

两年过去,心血管器械赛道发展的怎么样了?各细分市场有什么样的变化?市场上又出现了哪些创新医疗器械?相关企业又有何进展?

站在创新最前沿,商业化却折戟?

作为曾经的“当红炸子鸡”,瓣膜介入市场吸引了大量资金后,国内相关企业加码布局了主动脉、肺动脉、二尖瓣、三尖瓣等几乎所有瓣膜器械品类,并从模仿走向了原始创新。

在心脏瓣膜市场,许多企业从材料方面寻找创新突破点。例如,以心医疗自主研发出了全球首个聚合物瓣膜Polymer TAVR,且该产品已在上海复旦大学附属中山医院完成全球首例临床植入。

相较于以热解碳为材料制作的机械瓣膜和以生物组织为材料制作的生物瓣膜,聚合物瓣膜基于材料学的突破,融合机械瓣及生物瓣的双重优势,不仅使用寿命长,还具有极好的血液相容性,使患者无需长期服用抗凝药。据悉,心岭迈德、心锐医疗等创新企业也在布局研发高分子瓣膜。

除了材料上的突破,国内企业也在结构方面进行心脏瓣膜的创新。例如,近期获得FDA突破性设备认定的经导管二尖瓣置换术设备AltaValve,就是结构创新的代表。该产品由心通医疗的联营公司4C Medical研发,适用于治疗二尖瓣反流。

据悉,AltaValve采用环上瓣装置和心房固定设计,用于规避临床面临的锚定困难问题。同时,该设备通过创新的回收系统可在完全释放后实现回收功能,使术者在术中实现更精准的定位及释放。此外,AltaValve设计了三种不同瓣膜尺寸,满足不同瓣环直径的患者使用。

捍宇医疗、德晋医疗也在二尖瓣市场分别推出经导管二尖瓣夹系统,且两者的产品均于2023年以创新医疗器械身份获批上市。其中,捍宇医疗的二尖瓣夹系统采用了闭合环设计,夹臂之间不易分开,保证夹合稳固;其二尖瓣夹捕获范围较大,利于操作;经心尖手术方式,手术入路短,定位直接。

德晋医疗的经导管二尖瓣夹系统则设计了可延展中央封堵网搭配钳臂无级自锁,机械夹合,保证稳定的瓣叶捕获,降低瓣叶张力,减少对瓣叶的损伤,降低中心残余反流,减少术后跨瓣压差。

产品创新之外,国内瓣膜企业也在加速瓣膜产品的商业化。截至目前,国内已有多款介入瓣膜产品获批,其中二尖瓣介入产品已有2款上市。同时,相关企业已启动获批产品的商业化,且启明医疗、心通医疗、健世科技、杰成医疗等企业均已加速瓣膜产品在海外市场的应用。

例如,今年以来,启明医疗的经导管人工肺动脉瓣膜置换系统VenusP-Valve已在加拿大、澳大利亚、以色列、新加坡等国家相继获批上市,加速其全球化战略。截止目前,该产品的全球销售量总计超1000例,覆盖百余家海外中心。不止是肺动脉瓣膜,启明医疗的其他瓣膜产品也在全球市场销售应用,抢占传统海外巨头的市场。

再如,心通医疗自主研发的第二代TAVR产品VitaFlow Liberty已进入阿根廷、哥伦比亚、巴西、泰国、俄罗斯、印度尼西亚和沙特阿拉伯的近100家核心医院,且其VitaFlow系列产品已在全球范围内累计完成超1万例临床应用。

可惜的是,国内瓣膜企业的商业化成果却不尽如人意。根据各上市企业的2023年财报,启明医疗2023年营收4.91亿元,同比增长21%,税前亏损7.35亿元;心通医疗2023年营收3.36亿元,同比增长33.9%,税前亏损为4.64亿元;沛嘉医疗2023年营收4.41亿元,同比增长75.9%,税前亏损3.91亿元;健世科技2023年归母净亏损3.72亿元……仅计算上市企业,瓣膜领域企业在2023年亏损就达到19.62亿元,接近20亿。

一年亏损近20亿,瓣膜企业缺的不只是时间

产品陆续获批、加码商业化的瓣膜企业,为何还在亏损?一方面,瓣膜企业仍在斥巨资投入研发。如2023年,启明医疗的研发成本为5.24亿元,心通医疗的研发成本为2.37亿元,健世科技的研发开支为2.88亿元,沛嘉医疗瓣膜业务板块的研发开支为2.4亿元。

另一方面,瓣膜介入的渗透率还处于较低水平,需等待时间发酵。在近期举办的2024第八届VBEF未来医疗生态展会·心血管创新论坛上,以心医疗首席科学家钟伟提到:“2023年我国主动脉瓣介入置换手术数量大约为13000例-15000例左右,今后仍然会快速发展,预计2030年可能达到10万例,甚至更高。”

事实上,产业发展不是玩游戏,不能点点鼠标就实现快速应用,投资界、市场需要给瓣膜企业更多的时间。以美国为例,2002年,全球首例TAVR成功实施,但直到2019年,美国TAVR手术量才终于超过外科主动脉瓣置换手术(SAVR)。这一历程用了17年。

在中国,相信TAVR手术量超越SAVR用不了17年。2010年,国内首例TAVR手术成功实施。此后,瓣膜介入手术经过几年的医生培训、学术推广,在2018年实现开展1300例TAVR手术,并在2021年成功开展7319例。根据复旦大学附属中山医院潘文志教授公布的《2023年中国心脏瓣膜病介入治疗数据》,2023年前十个月,TAVR手术量已开展1.16万例。

手术量持续大增的背后,是瓣膜中心的快速建设与大量国产创新瓣膜器械的支持。2019年,心脏瓣膜病介入中心(简称“瓣膜中心”)在国家放射与治疗临床医学研究中心指导下发起建设。瓣膜中心致力于推动心脏瓣膜病介入治疗的体系化和规范化发展。截至目前,全国已有309 家注册单位,覆盖26 个省份。

另外,潘文志教授认为:“TAVR器械的迭代也促进了国内TAVR手术量的增长。”从机械瓣到生物瓣,再到高分子瓣膜,从传统瓣膜到可回收瓣膜,瓣膜器械一直在更新迭代。同时,现阶段,主动脉瓣、二尖瓣、三尖瓣及肺动脉瓣等疾病领域,均有具备独特临床优势的国产自研瓣膜器械问世,为临床诊疗的发展提供坚实的技术支撑。业内企业的推广、适应症人群的拓展,均对瓣膜介入渗透率的增长做出了重要贡献。

虽然有的瓣膜企业在持续亏损,但瓣膜市场的基本盘与基本逻辑仍是积极向好的。从渗透率上看,我国约有2500万例瓣膜性心脏病患者,其中150万为重度主动脉瓣狭窄患者。TAVR渗透率还有极大地提升空间。

在2024第八届VBEF未来医疗生态展会上,蛋壳研究院院长姜天骄表示:“希腊的人均GDP为2万美金,其每百万人TAVR植入量有50多例。目前,中国每百万人TAVR植入量仅有9例。中国到2035年要达到中等发达国家收入水平,即人均GDP达到2.3-2.5万美金。因此,中国TAVR若做到希腊当前的渗透率,就有5倍的成长空间;若做到日本当前的渗透率,则有10倍的增长;若达到美国当前的渗透率,则还有30倍的增长空间。”

基于这一基本逻辑,我们认为瓣膜介入市场未来可期,而站在创新最前沿的国产瓣膜企业们将在未来的全球瓣膜器械制造巨头中占有一席之地。

需要补充的是,双向奔赴,才有美好未来。投资者给予瓣膜企业资金支持及发展时间,但瓣膜企业也需要给予投资者信心。目前,瓣膜领域上市企业,启明医疗、沛嘉医疗先后公告停牌。启明医疗停牌的原因是内部管理问题,公司曾向两名高管提供巨额贷款且及时信披;沛嘉医疗停牌的原因是“公司正在与审计师讨论金融资产的估值,且仍待若干资料及支持文件”。

因此,瓣膜企业除了加强产品创新,也需注重企业管理。未来,随着市场渗透率的提升,国内瓣膜企业将迎来快速发展。但抓住机遇的,可能是上市企业,也可能是现阶段默默补齐短板的创新企业。

心血管器械仍在坚持创新,市场担心商业化

在融资高峰期,吸金的不止是瓣膜介入器械,还有其他细分领域。

例如,心脏电生理领域就凭借新兴的脉冲电场技术(PFA)吸引了一大批投资者,先后有十余家入局的企业完成融资。

PFA被认为是下一代消融技术。据悉,PFA具有组织选择性和非热效应,可在杀伤病变组织的同时确保不损伤周围正常组织。此外,PFA系统还具有消融效率高、操作简单、安全性高等优势。

如今,锦江电子、德诺电生理等创新企业的PFA系统已获批上市。其中,锦江电子的PFA系统LEAD-PFA于2024年5月在“中国医疗器械创新之路”高峰论坛上进行产品品鉴,并登上了比邻星创投发布的《中国医疗器械2024探星创新榜》。

值得一提的是,睿笛生物基于脉冲电场技术推出的陡脉冲消融系统(纳秒脉冲消融系统)于2024年2月获得美国FDA“突破性医疗器械”认定,成为国内首个获此认定的脉冲电场消融产品。

道禾长期投资合伙人周灏评价道:“锦江电子的LEAD-PFA作为第一个上市的国产PFA,产品和技术均具有竞争力。但是,其后续如何开展学术推广,如何做长时间的临床验证,同样十分重要。”

RDN也是市场关注的重磅细分赛道。2023年,美敦力历经23年辛苦,终于使其经皮去肾交感神经术(RDN)产品获得FDA批准。在大洋彼岸,魅丽纬叶推出的Netrod网篮状六电极RDN系统于2021年获得FDA授予的“突破性设备”认定。

据介绍,魅丽纬叶自主研发的Netrod网篮状六电极RDN系统采用了网篮状结构使导管顺应性更强、血管中贴壁性能更优异,并设计出360度螺旋排布的六电极使系统实现更高效的消融治疗。临床数据显示,该产品的达标率达60%,诊室血压下降率达25%,动态血压下降率达12%。

泰康资产董事总经理、战略股权投资部负责人徐军表示:“魅丽纬叶的技术确实很领先,在临床数据上也远远高于海外巨头。但是,其未来面临的问题也是一样:创新产品的商业化需要用数据来证明。同时,该产品的临床效果,也需要企业用长期、广泛的临床数据来证明。”

上海生物医药产业股权投资基金合伙人梁卫彬也表示:“魅丽纬叶的RDN系统作为创新疗法,在商业化方面存在挑战。不过,由于美敦力的RDN产品已在国内获批,相信魅丽纬叶将可与美敦力共同推动RDN的应用。”

若没有跨国巨头企业在前面蹚路,国内企业就需要作为主力推动创新产品和创新术式,这明显更具挑战性。

除了瓣膜介入、心脏电生理、RDN外,血管介入手术机器人、血管腔内影像、人工智能等赛道也充满了创新。例如,唯迈医疗立足介入机器人存在个体精度差异、手术效率等痛点,提出了以介入手术机器人为“手”、DSA为“眼”、AI决策平台为“脑”的“眼手脑”协同解决方案。

“计算医学的兴起,能够助力心血管医疗器械研发。如MathWorks与奥克兰大学合作,提供可通过数学模型仿真心脏跳动过程中,完整电生理模型,从而可帮助心血管企业,实现医疗器械的早期设计验证和评估。而不必等到动物实验和临床试验,才能进行代价高昂、耗时费力的验证与迭代优化。“

虽然行业创新一直在持续,但市场与投资人们基于当前的市场环境,开始更关注企业的商业化问题。

有投资人表示,有些创新医疗器械在学术推广时评价出色,临床效果也极为优异,但在临床上却难以推广普及。这是因为产品获批之后,还有物价、挂网、集采、医保等难关,且关关难过。

以物价为例,国科恒泰战略合作与投资部负责人王泽玮表示:“创新器械的商业化,大概要花10年才能把全国每个省的物价都做下来。此前,一位研发出国际首创产品的创始人,用了10年才做了5个省的物价。”

不止是创新企业,跨国器械巨头也会遇到商业化难题。例如,雅培、波科花了十几年时间和数亿元美金推广可降解支架,但其产品仍然是黯然离场。

君联资本董事总经理周瑔提醒创业者:“希望所有医疗器械企业在创新的过程中提前关注国内商业化的体系和它的边界条件,因为这会非常大地影响创新项目的投入产出比和转化周期。”

时移世易,因地制宜。现阶段,没有更多资金涌入市场后,心血管创新器械企业需调整发展战略,以商业化为重中之重,通过健康的现金流确保企业稳步发展。

本文为转载内容,授权事宜请联系原著作权人。