龙虎榜丨天迈科技今日涨停,知名游资孙哥净买入901.27万元

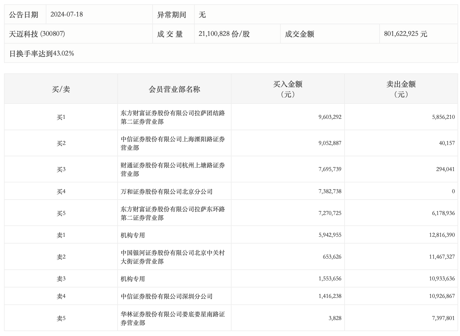
7月18日,天迈科技今日涨停,龙虎榜数据显示,上榜营业部席位全天成交1.16亿元,占当日总成交金额比例为14.53%。其中,买入金额为5057.57万元,卖出金额为6591.14万元,合计净卖出1533.57万元。

具体来看,机构买入749.66万元,卖出2375.0万元,合计净卖出1625.34万元。此外,知名游资现身龙虎榜,东方财富证券拉萨团结路第二证券营业部、孙哥(中信证券上海溧阳路证券营业部)分别买入960.33万元、905.29万元;中国银河证券北京中关村大街证券营业部、中信证券深圳分公司分别卖出1146.73万元、1092.69万元。

 

未经正式授权严禁转载本文,侵权必究。

天迈科技

  • 天迈科技(300807.SZ):2025年中报净利润为-427.12万元
  • 机构风向标 | 天迈科技(300807)2025年二季度已披露前十大机构持股比例合计下跌1.13个百分点

评论

暂无评论哦,快来评价一下吧!