龙虎榜丨清研环境今日涨10.66%,知名游资宁波桑田路净买入490.48万元、赵老哥净卖出560.81万元

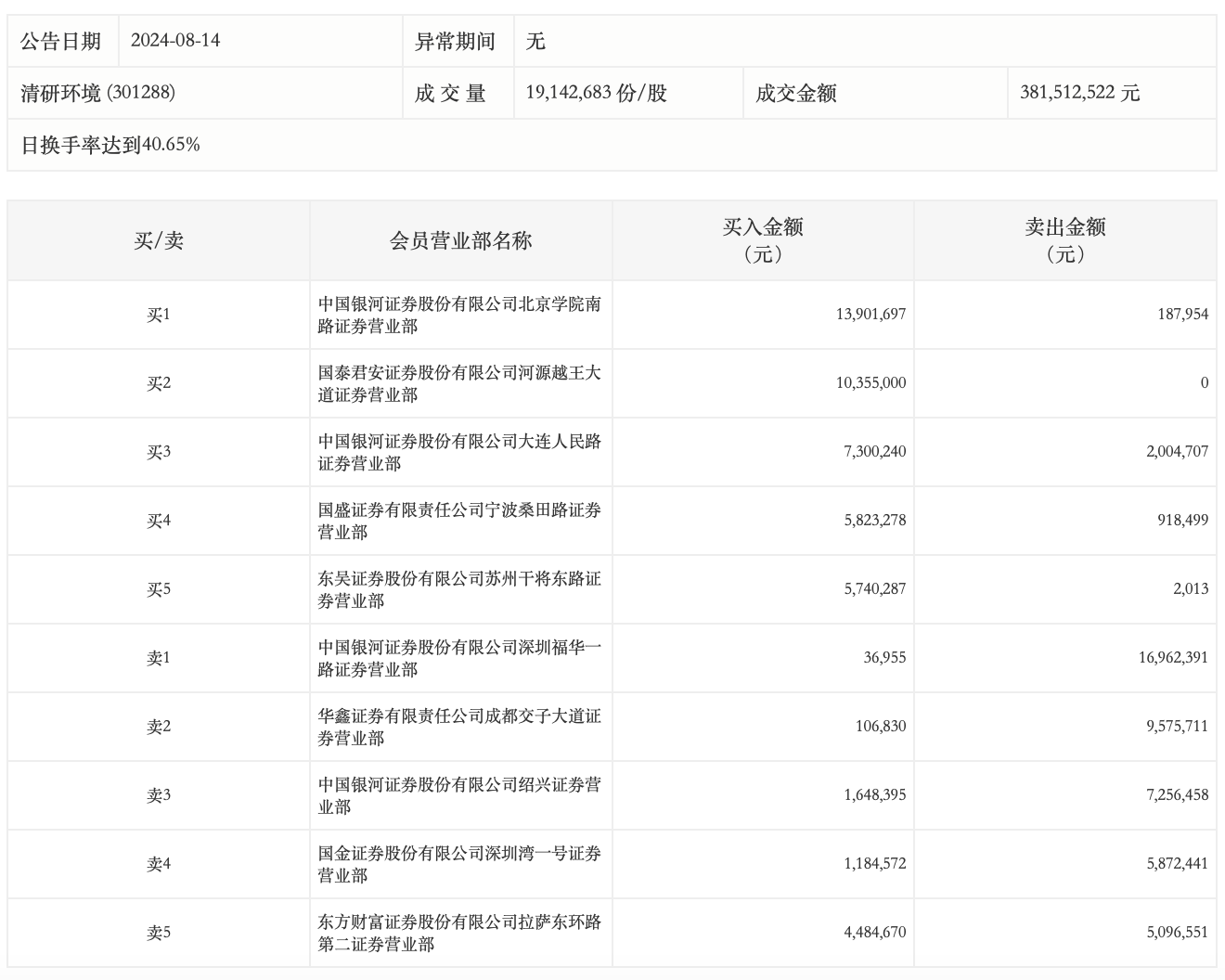
8月14日,清研环境今日涨10.66%,龙虎榜数据显示,上榜营业部席位全天成交9845.86万元,占当日总成交金额比例为25.81%。其中,买入金额为5058.19万元,卖出金额为4787.67万元,合计净买入270.52万元。

具体来看,知名游资现身龙虎榜,宁波桑田路(国盛证券有限责任公司宁波桑田路证券营业部)净买入490.48万元、赵老哥(中国银河证券股份有限公司绍兴证券营业部)净卖出560.81万元。此外,中国银河证券北京学院南路证券营业部、国泰君安证券河源越王大道证券营业部分别买入1390.17万元、1035.50万元;中国银河证券深圳福华一路证券营业部、华鑫证券成都交子大道证券营业部分别卖出1696.24万元、957.57万元。

 

未经正式授权严禁转载本文,侵权必究。

清研环境

  • 清研环境(301288.SZ):2024年三季报净利润为-1301.05万元,同比由盈转亏
  • 机构风向标 | 清研环境(301288)2024年三季度已披露前十大机构持股比例合计下跌1.55个百分点

评论

暂无评论哦,快来评价一下吧!