龙虎榜丨中公教育今日涨停,小鳄鱼、作手新一分别净买入6090.17万元、5152.12万元

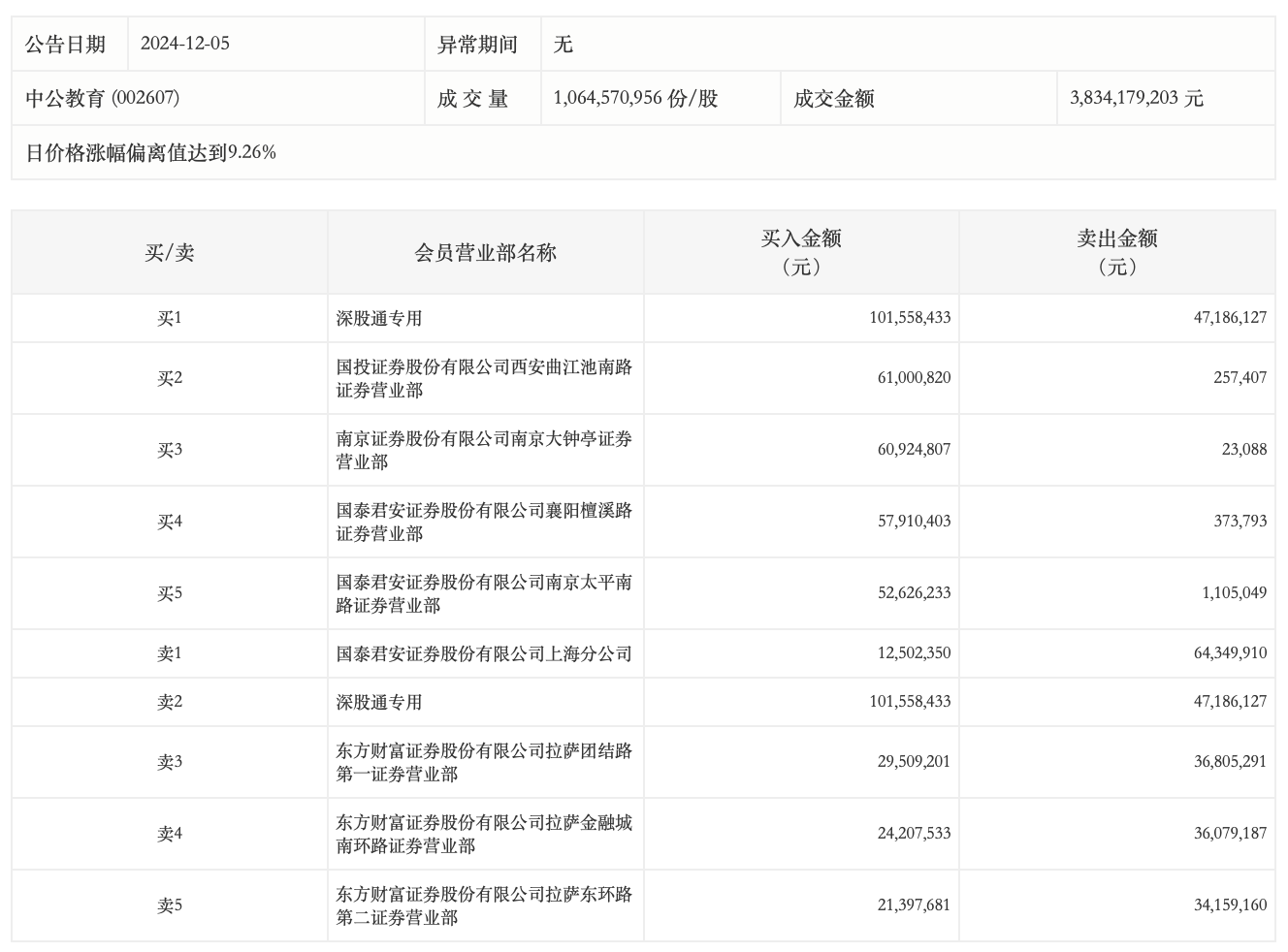
12月5日,中公教育今日涨停,龙虎榜数据显示,上榜营业部席位全天成交6.42亿元,占当日总成交金额比例为16.74%。其中,买入金额为4.22亿元,卖出金额为2.2亿元,合计净买入2.01亿元。

具体来看,知名游资现身龙虎榜,小鳄鱼(南京证券股份有限公司南京大钟亭证券营业部)净买入6090.17万元、作手新一(国泰君安证券股份有限公司南京太平南路证券营业部)净买入5152.12万元。此外,深股通专用、国投证券西安曲江池南路证券营业部分别买入1.02亿元、6100.08万元;国泰君安证券上海分公司、深股通专用分别卖出6434.99万元、4718.61万元。

 

未经正式授权严禁转载本文,侵权必究。

中公教育

3.7k
  • 中公教育上半年实现营收11.55亿,AI就业业务整体销售规模已超5000万
  • 中公教育:上半年归母净利润6178.43万元,同比下降46.69%

评论

暂无评论哦,快来评价一下吧!