正在阅读:

董明珠没有“太子”

扫一扫下载界面新闻APP

董明珠没有“太子”

“铁三角”变成独角戏,董明珠接班人没有了苗头。

文|德林社 张佳儒

康熙在位61年,削三藩,征朔漠,治蒙古,戎马一生的高能管理者,没想到却在接班人问题上翻车了。康熙末年,九子夺嫡,胤礽被废,王朝再无太子。

企业家群体中,因为接班人问题头疼的案例,并不鲜见,董明珠就是典型。董明珠面对的接班人问题,不是“九子夺嫡”,而是没有“太子”。

格力电器最新的公告显示,67岁的董明珠连任董事长,将在这个位置继续干3年。董明珠连任,有股民说,格力有董明珠在就买得放心,还有人说,退位让贤,格力才能更上一层楼。

1990年,董明珠就进入格力,30多年时间, 她从小业务员一步步做到最高管理者,对格力的发展居功至伟。中国为数不多的女企业家中,董明珠是一个亮眼的符号,做事说一不二、雷厉风行,有“铁娘子”的称号。

董明珠对格力绝对是真爱,她还是一个小业务员的时候,就软磨硬泡40多天追欠款。为了企业利益,董明珠和亲哥断绝来往20年。面对疫情,她放下身段亲自直播推动格力线上销售。

一个企业基业长青,只有一个董明珠是远远不够的。2019年至2020年,格力营收、净利润增长几乎停滞,甚至下滑。2020年底至今,格力股价表现低迷。

唱衰格力的声音多了起来,外界提及最多的是,“空调老大地位不保,多元化转型不顺”。

俗话说:问题出在前三排,根子还在主席台。作为格力一号人物,董明珠的战略规划和领导能力遭到质疑,接班人,成为格力的敏感话题。

谁会是董明珠的“太子”呢?

2020年8月,董明珠谈到自己选接班人的标准,接班人一定要比她更优秀。她还说,自己做副手的时候,承担了很多一把手的事情,挡子弹冲锋在前的都是她,“我也希望能有这样一位的副手,但目前还没有看到,很遗憾”。

最近两年,格力两位核心高管相继离职,接班人的话题被屡屡提及。一个是望靖东,曾任格力电器董事、副总裁、董事会秘书等职务。另一个是黄辉,曾任格力电器的董事、执行总裁职务。

黄辉、望靖东,被外界称为董明珠的左膀右臂,甚至与董明珠合称为格力的“铁三角”。黄、望二人,也被看作是董明珠重点培养的接班人选。

对于两人的离去,有家电行业分析师认为,他们在格力这么多年,非常忠诚于格力,但都离开了。这意味着,他们对于目前格力的发展思路,都与董明珠出现了严重分歧。

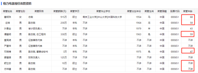
“铁三角”变成独角戏,董明珠接班人没有了苗头。最新出炉的高管名单中,格力有5名副总裁,分别是邓晓博、庄培、谭建明、舒立志、方祥建。

其中,庄培、谭建明、方祥建是三位元老,2002年、1989年、2004年加入格力,庄培、谭建明两人年龄都将近60岁,方祥建年龄不详。邓晓博和舒立志都是新人,分别在2020年11月、2019年12月加入格力,邓晓博47岁,舒立志年龄不详。

按照董明珠选接班人的标准,忠诚、愿意付出,身居副总裁高位的几人,谁会符合董明珠的条件呢?

新一届高管团队落定,格力近日有诸多大消息,比如大额分红计划落地、旗下业务确有分拆上市计划等等。

格力想要再上层楼,董明珠需要接班人,年龄上董明珠并不算大,80岁以上的董事长大有人在,只是业务上的转型创新,往往是和人的思维转型创新密不可分。

没有万能的管理者,格力正处在转型升级的关键期,董明珠到了要潜心培养“太子”的时候了。

本文为转载内容,授权事宜请联系原著作权人。

董明珠

  • 科技早报 | 小米17系列刷新今年国产手机首销纪录;鸿蒙5操作系统终端数突破1700万
  • “董明珠健康家”半年开970家,293家开业超一个月的门店零售总额约3.9亿元

评论

暂无评论哦,快来评价一下吧!

下载界面新闻

微信公众号

微博

董明珠没有“太子”

“铁三角”变成独角戏,董明珠接班人没有了苗头。

文|德林社 张佳儒

康熙在位61年,削三藩,征朔漠,治蒙古,戎马一生的高能管理者,没想到却在接班人问题上翻车了。康熙末年,九子夺嫡,胤礽被废,王朝再无太子。

企业家群体中,因为接班人问题头疼的案例,并不鲜见,董明珠就是典型。董明珠面对的接班人问题,不是“九子夺嫡”,而是没有“太子”。

格力电器最新的公告显示,67岁的董明珠连任董事长,将在这个位置继续干3年。董明珠连任,有股民说,格力有董明珠在就买得放心,还有人说,退位让贤,格力才能更上一层楼。

1990年,董明珠就进入格力,30多年时间, 她从小业务员一步步做到最高管理者,对格力的发展居功至伟。中国为数不多的女企业家中,董明珠是一个亮眼的符号,做事说一不二、雷厉风行,有“铁娘子”的称号。

董明珠对格力绝对是真爱,她还是一个小业务员的时候,就软磨硬泡40多天追欠款。为了企业利益,董明珠和亲哥断绝来往20年。面对疫情,她放下身段亲自直播推动格力线上销售。

一个企业基业长青,只有一个董明珠是远远不够的。2019年至2020年,格力营收、净利润增长几乎停滞,甚至下滑。2020年底至今,格力股价表现低迷。

唱衰格力的声音多了起来,外界提及最多的是,“空调老大地位不保,多元化转型不顺”。

俗话说:问题出在前三排,根子还在主席台。作为格力一号人物,董明珠的战略规划和领导能力遭到质疑,接班人,成为格力的敏感话题。

谁会是董明珠的“太子”呢?

2020年8月,董明珠谈到自己选接班人的标准,接班人一定要比她更优秀。她还说,自己做副手的时候,承担了很多一把手的事情,挡子弹冲锋在前的都是她,“我也希望能有这样一位的副手,但目前还没有看到,很遗憾”。

最近两年,格力两位核心高管相继离职,接班人的话题被屡屡提及。一个是望靖东,曾任格力电器董事、副总裁、董事会秘书等职务。另一个是黄辉,曾任格力电器的董事、执行总裁职务。

黄辉、望靖东,被外界称为董明珠的左膀右臂,甚至与董明珠合称为格力的“铁三角”。黄、望二人,也被看作是董明珠重点培养的接班人选。

对于两人的离去,有家电行业分析师认为,他们在格力这么多年,非常忠诚于格力,但都离开了。这意味着,他们对于目前格力的发展思路,都与董明珠出现了严重分歧。

“铁三角”变成独角戏,董明珠接班人没有了苗头。最新出炉的高管名单中,格力有5名副总裁,分别是邓晓博、庄培、谭建明、舒立志、方祥建。

其中,庄培、谭建明、方祥建是三位元老,2002年、1989年、2004年加入格力,庄培、谭建明两人年龄都将近60岁,方祥建年龄不详。邓晓博和舒立志都是新人,分别在2020年11月、2019年12月加入格力,邓晓博47岁,舒立志年龄不详。

按照董明珠选接班人的标准,忠诚、愿意付出,身居副总裁高位的几人,谁会符合董明珠的条件呢?

新一届高管团队落定,格力近日有诸多大消息,比如大额分红计划落地、旗下业务确有分拆上市计划等等。

格力想要再上层楼,董明珠需要接班人,年龄上董明珠并不算大,80岁以上的董事长大有人在,只是业务上的转型创新,往往是和人的思维转型创新密不可分。

没有万能的管理者,格力正处在转型升级的关键期,董明珠到了要潜心培养“太子”的时候了。

本文为转载内容,授权事宜请联系原著作权人。