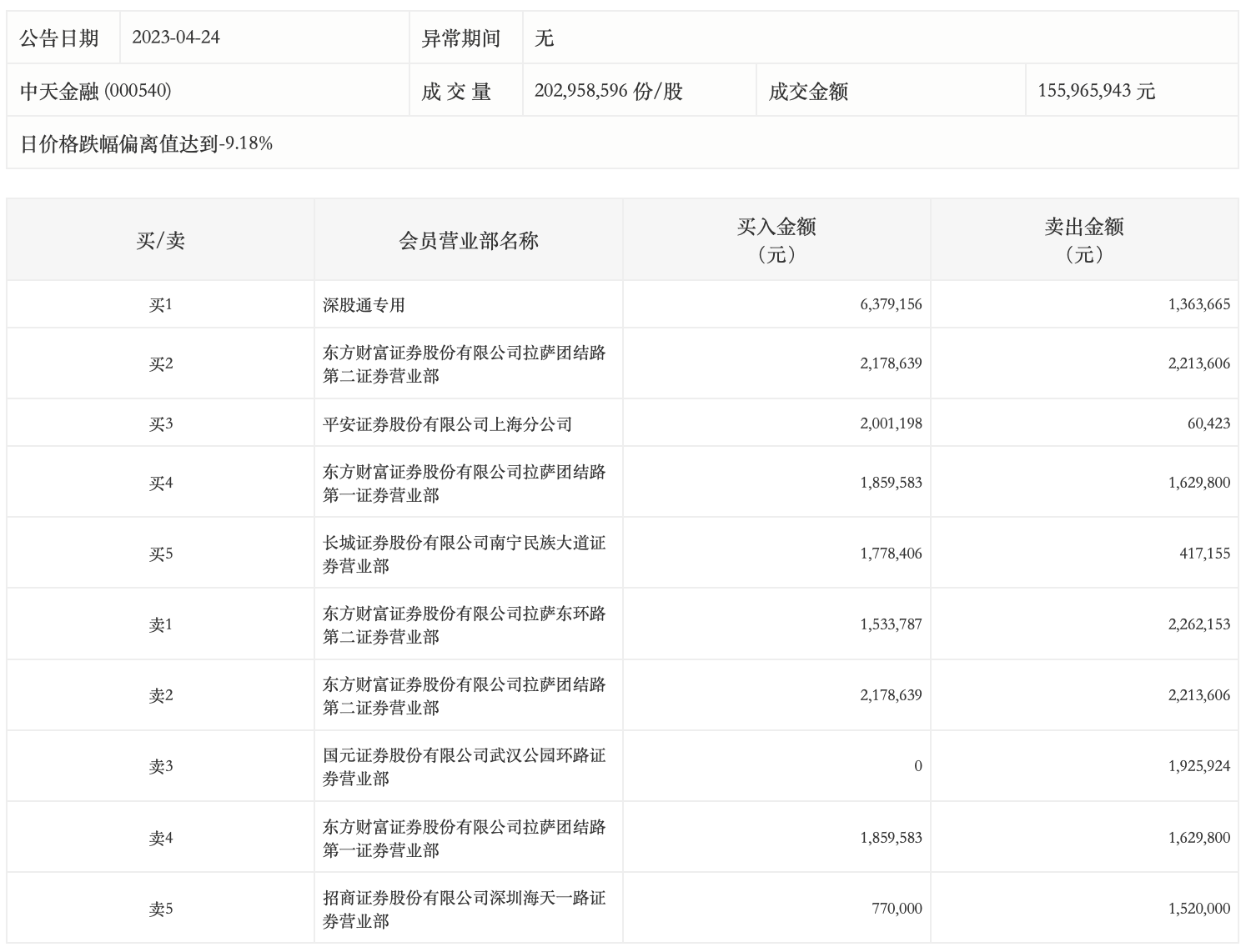
4月24日,中天金融今日跌停,龙虎榜数据显示,上榜营业部席位全天成交2789.35万元,占当日总成交金额比例为17.88%。其中,买入金额为1650.08万元,卖出金额为1139.27万元,合计净买入510.8万元。
具体来看,东方财富证券拉萨东环路第二证券营业部、东方财富证券拉萨团结路第二证券营业部分别卖出226.22万元、221.36万元;深股通专用、东方财富证券拉萨团结路第二证券营业部分别买入637.92万元、217.86万元。
来源:界面新闻
4月24日,中天金融今日跌停,龙虎榜数据显示,上榜营业部席位全天成交2789.35万元,占当日总成交金额比例为17.88%。其中,买入金额为1650.08万元,卖出金额为1139.27万元,合计净买入510.8万元。
具体来看,东方财富证券拉萨东环路第二证券营业部、东方财富证券拉萨团结路第二证券营业部分别卖出226.22万元、221.36万元;深股通专用、东方财富证券拉萨团结路第二证券营业部分别买入637.92万元、217.86万元。
评论